• 加拿大28
  • 电话:021-51875578
  • 传真:021-57443237
  • 手机:13916747333
  • 邮箱:a15566@126.com
  • 地址:奉贤区工业综合开发区942号
当前位置:首页 >> 疏水阀 >> 波纹管式疏水阀 >> 液体膨胀式蒸汽疏水阀
更新时间 2025-12-4 21:25:41


波纹管式疏水阀
    液体膨胀式蒸汽疏水阀
    液体膨胀式蒸汽疏水阀   产品名称: 液体膨胀式蒸汽疏水阀
    型号:CS14H/F
    口径:DN15-50
    压力:1.0-6.4MPa
    材质:铸钢、不锈钢等

    良大优势:

    1、质量稳定:实行全过程质量监控
    细心把关,全方位检测!
    2、价格合理:高效率的成本控制
    减少开支,让利于客户!
    3、交货快捷:充足的库存,便捷的物流
    严格按照合同期交货!

    订货须知:

    请您尽量提供详细参数
    ①名称 ②型号 ③口径 ④压力 ⑤材质
    ⑥连接 ⑦传动 ⑧温度 ⑨介质 ⑩附件

    良大服务:

    提供全套流体控制解决方案,良大阀门
    售前、售中、售后专业服务。
    您正在浏览:【液体膨胀式蒸汽疏水阀

       液体膨胀式蒸汽疏水阀详细介绍


    液体膨胀式蒸汽疏水阀产品概述:
    液体膨胀式蒸汽疏水阀由阀体内凝结水的温度变化而作用于热膨胀系数较大的元件上,以驱动阀芯的启闭动作,从而起到阻汽排水作用。其当装置启动时,因凝结水温度低,感温元件未膨胀,不能关闭阀孔,所以空气和低温凝结水能顺利排出,当流入阀中凝结水的温度逐渐升高,波纹管内感温溶液开始蒸发膨胀,波纹管内感温溶液蒸发的饱和压力大于凝结水压力,元件变形伸长,阀孔关闭,关阀后,系统中凝结水温度因散热逐渐降低,波纹管中感温溶液的蒸汽受低温凝结水作用而冷却,感温溶液的蒸汽压力降低,且低于阀门中凝结水压力,阀门重新开启,凝结水流出,阀实现循环动作。

    液体膨胀式蒸汽疏水阀产品优点:
    液体膨胀式蒸汽疏水阀出厂前凝结水排放温度已调节在90℃左右,如需要改变排水温度或者排量时,旋转阀门上面的调节螺杆,顺时针阀芯开度减小,为拧紧状态,排量减少排水温度降低,逆时针阀芯开度增大,为松开状态,排量增大排水温度上升。本产品端部连接形式为螺纹,按结构形式分为直通式和角式两种。

    液体膨胀式蒸汽疏水阀技术规范:


    液体膨胀式蒸汽疏水阀零件材料:


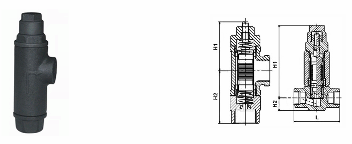
    液体膨胀式蒸汽疏水阀外形结构图:


    液体膨胀式蒸汽疏水阀外形尺寸表:


    液体膨胀式蒸汽疏水阀订货参数:
    尊敬的客户!如果您需要订购我公司液体膨胀式蒸汽疏水阀产品,有技术要求,须在订货合同中注明。在安装本产品时,介质流向、安装方向必须与阀门上所标示的方向一致,本产品可任意角度安装,并可随时调整排水温度和排水量。

    提示:本文中所有文字、数据、图片均只适用于参考,需要了解更详细的【液体膨胀式蒸汽疏水阀】参数、选型、价格等请联系我们,我们将竭诚为您服务!