- 加拿大28
- 电话:021-51875578
- 传真:021-57443237
- 手机:13916747333
- 邮箱:a15566@126.com
- 地址:奉贤区工业综合开发区942号
当前位置:首页 >> 真空阀门
>> 真空球阀 >> GUD型电动高真空球阀 更新时间 2025-12-4 21:18:09
真空球阀
| GUD型电动高真空球阀 |
![]() |
产品名称: | GUD型电动高真空球阀 | |||||
| 型号: | GUD | ||||||
| 口径: | DN10-200 | ||||||
| 压力: | 0.6×106 ~1.3×10-4 | ||||||
| 材质: | 304、316、316L不锈钢 | ||||||
|
|||||||
| 您正在浏览:【GUD型电动高真空球阀】 | |||||||
GUD型电动高真空球阀详细介绍
GUD型电动高真空球阀产品概述:
GUD型系列电动高球阀采用回转型电动、电子调节式阀门驱动装置,可以通过外接电源的切换(用手动转位开关或电脑控制)或外部输入信号,来实现阀门开、关或中间位置的控制,从而达到接通或切断真空管路中气流的目的。阀门为直通式,靠球面密封,因而既能用在真空状态下,也能在低压状态下使用,并可任意位置安装。适用的工作介质为带酸、碱性的气体或液体。
GUD型电动高真空球阀技术性能:
快卸法兰(KF)2x105~1.3x10-5 |
|
标准出厂:-30~+150 |
|
标准出厂:AC220V/50Hz开关型 |
|

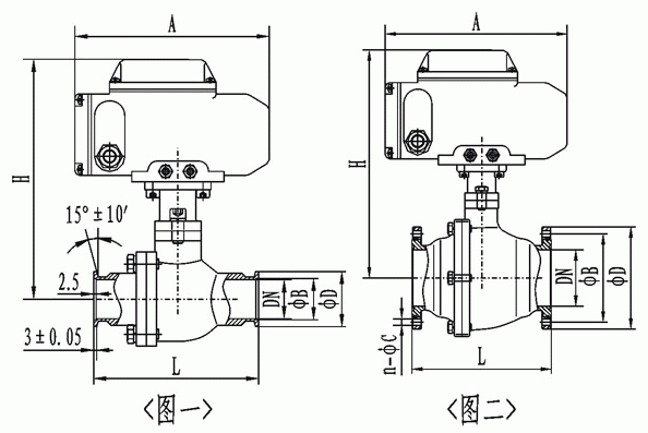
GUD型电动高真空球阀连接尺寸:
快卸法兰(KF)连接及外形尺寸(GB4982)
活套法兰连接及外形尺寸(GB/T6070)
| GUD-10 | 10 | 55 | 40 | 170 | 92 | ||
| GUD-20 | 20 | 65 | 50 | 191 | 114 | ||
| GUD-200 | 200 | 285 | 260 | 512 | 390 | 310 | 12-12 |
提示:本文中所有文字、数据、图片均只适用于参考,需要了解更详细的【GUD型电动高真空球阀】参数、选型、价格等请联系我们,我们将竭诚为您服务!



















