• 加拿大28
  • 电话:021-51875578
  • 传真:021-57443237
  • 手机:13916747333
  • 邮箱:a15566@126.com
  • 地址:奉贤区工业综合开发区942号
当前位置:首页 >> 真空阀门 >> 真空挡板阀 >> 三通式气动高真空挡板阀
更新时间 2025-12-4 21:18:27


真空挡板阀
    三通式气动高真空挡板阀
    三通式气动高真空挡板阀   产品名称: 三通式气动高真空挡板阀
    型号:GDQ-JS
    口径:DN50-63
    压力:0.6×106 ~1.3×10-4
    材质:铸钢、不锈钢

    良大优势:

    1、质量稳定:实行全过程质量监控
    细心把关,全方位检测!
    2、价格合理:高效率的成本控制
    减少开支,让利于客户!
    3、交货快捷:充足的库存,便捷的物流
    严格按照合同期交货!

    订货须知:

    请您尽量提供详细参数
    ①名称 ②型号 ③口径 ④压力 ⑤材质
    ⑥连接 ⑦传动 ⑧温度 ⑨介质 ⑩附件

    良大服务:

    提供全套流体控制解决方案,良大阀门
    售前、售中、售后专业服务。
    您正在浏览:【三通式气动高真空挡板阀

       三通式气动高真空挡板阀详细介绍


    三通式气动高真空挡板阀产品概述:

    GQ-JS三通式气动高真空挡板阀是以压缩空气为动力,通过控制气动元件来改变气路方向,双路接口,气缸驱动使挡板阀作启闭运动,用于接通或切断真空管路中的气流。适用的工作介质为空气或非腐蚀性气体。

    三通式气动高真空挡板阀技术性能:
    适用范围(Pa)
    105~1.3x10-4
    阀门漏率(Pa.L/S)
    ≤1.3x10-5
    介质温度(℃)

    -25~+80(密封材料为腈橡胶)
    -30~+150(密封材料为氟橡胶)

    气源压力(MPa)
    0.4~0.8
    安装位置
    任意
    电源电压

    标准出厂:AC220V/50Hz
    特殊指定:AC110V;DC24;DC24V等

    信号反馈
    标准出厂:不带反馈信号
    特殊指定:磁性开关DC/AC5~240V
    法兰标准
    GB/T6070

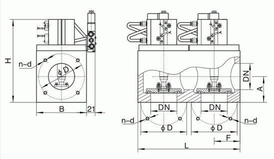
    三通式气动高真空挡板阀外形结构图:


    三通式气动高真空挡板阀连接尺寸:
    型号
    通径(DN)
    ΦD
    ΦB
    H
    B
    A/F
    n/d
    GDQ-JS50
    50
    90
    200
    199
    100
    55/50
    4-M8
    GDQ-JS63
    63
    110
    245
    199
    120
    62/62
    4-M8

    提示:本文中所有文字、数据、图片均只适用于参考,需要了解更详细的【三通式气动高真空挡板阀】参数、选型、价格等请联系我们,我们将竭诚为您服务!